ГЕНЕРАТОР ОЗОНА ЗА ПЯТНАДЦАТЬ МИНУТ. Озонатор журнал радио
ДОМАШНИЙ ОЗОНАТОР
ДОМАШНИЙ ОЗОНАТОР.
Озонаторы широко применяют для освежения и обеззараживания воздуха в непроветриваемых помещениях, например, чуланах, подвалах, туалетах и курительных комнатах. При этом устраняются запахи и улучшается естественная циркуляция воздуха. В домашних условиях такими приборами можно периодически обрабатывать небольшие запасы свежих овощей и фруктов для их лучшей сохранности.

Несложный домашний озонатор можно сделать по схеме, приведенной на рис. 1. В устройство входят: преобразователь сетевого напряжения, основными элементами которого служат неоновая лампа HL1 и симистор VS1, индукционная ка-тушкаL1, элемент А1, создающий озон, и вентилятор с электродвигателем М1. За основу преобразователя напряжения взят симисторный регулятор мощности, описанный нами в «Радио», 1991, № 7, с.63.
При включении озонатора в сеть, через обмотку I индукционной катушки, резисторы R1 и R2, R3.R4, заряжаются конденсаторы C1 и С2. При напряжении на конденсаторе С1 60...70 В неоновая лампа HL1 зажигается и включает симистор VS1. В этот момент конденсатор С2 быстро разряжается через симистор и обмотку катушки до сетевого напряжения, что приводит к выключению симистора. Сформированный таким образом короткий импульс тока создает на вторичной обмотке индукционной катушки высокое напряжение, создающее в элементе А1 коронный разряд.
При следующем полупериоде сетевого напряжения конденсатор С1 вновь заряжается, но в другой полярности. А так как конденсатор С2 уже заряжен в предыдущий полупериод и полярность его заряда в данный момент совпадает с полярностью сети, поэтому в момент очередного включения симистора на первичную обмотку индукционной катушки поступает суммарное напряжение сети и конденсатора С2. Конденсатор С2 при этом перезаряжается, а симистор выключается. В следующий полупериод сетевого напряжения цикл формирования импульса повторяется.
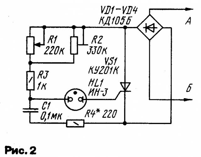
Использование в преобразователе симистора позволило повысить эффективность работы индукционной катушки и почти полностью исключить ее подмагничивание. Можно, конечно, использовать и тринистор. В этом случае преобразователь озонатора следует собирать по схеме на рис. 2.

Изготовление необходимой катушки индуктивности—дело весьма трудоемкое. Поэтому ее функцию в описываемом озонаторе выполняет автомобильная катушка зажигания. Она может быть любого типа, в том числе бывшая в употреблении, с разрушенными контактами, поврежденным корпусом. Катушку зажигания зажимают в тиски и в ее корпусе по бортику делают ножовкой неглубокий пропил. Затем осторожно снимают пластмассовую горловину и вместе с ней из масла извлекают саму катушку. Провода обмоток аккуратно кусачками отделяют от горловины, тампоном удаляют излишки масла с обмоток и просушивают.

Внешний вид и деталировка элемента, вырабатывающего озон, показаны на рис. 3. Он разработан по рекомендациям Дзержинского НИИ химического машиностроения. Элемент представляет собой два электрода 8 и 10, отделенных один от другого чистой пластинкой 9 оконного стекла толщиной 3 мм размерами 80х80 мм. Сверху и снизу на них накладывают четыре прокладки 2, 3, 6, 7 размерами 100х20 мм, толщиной 2 мм и две изолирующие пластины 1 и 4 из стеклотекстолита (или гетинакса) толщиной 4...8 мм, которые затем стягивают четырьмя винтами 5 М4х12 мм. В результате в элементе между стеклом и электродами образуются две сквозные щели шириной 60 и высотой 2 мм, где и происходит коронный разряд.
Для электродов размерами 70х70 мм с контактными выводами используют листовой алюминий (или его сплавы) толщиной 1 мм.

Конструкция одного из возможных вариантов домашнего озонатора показана нарис.4. Монтажная плата преобразователя напряжения и озонирующий элемент укреплены на изолирующем основании с помощью металлических уголков, а индукционная катушка—алюминиевым хомутом через полоску стеклоткани. Симистор (или тринистор) желательно установить на дюралюминиевом уголке. Провод, идущий от ленточного вывода индукционной катушки к озонирующему элементу, должен быть по возможности коротким и в фторопластовой трубке. Можно использовать отрезок коаксиального кабеля, сняв с него экранирующую оплетку. Ось резистора РЦ (СП-1) должна выходить из корпуса наружу и снабжена изолирующей ручкой. Конденсаторы С1 —К73-11 на номинальное напряжение 160 В, С2 и СЗ — МБМ на номинальное напряжение 400 В.
Для циркуляции озона в помещении в устройство встроен вентилятор типа ВН-2, применяемый во многих промышленных электронных приборах. Но, разумеется, можно использовать обычный настольный вентилятор и им продувать прибор через декоративные решетки.
Налаживание прибора сводится к установке диапазона регулирования интенсивности озонообразования. Для этого движок переменного резистора R1 устанавливают в крайнее верхнее (по схеме) положение, а подстроечного резистора R2—в крайнее нижнее. После включения в сеть неоновая лампа должна загореться. Плавным увеличением сопротивления резистора R2 добиваются появления в озонирующем элементе характерного трескообразного шума и слабого фиолетового свечения барьерного разряда. При дальнейшем увеличении сопротивления резистора интенсивность этих явлений нарастает, а затем происходит срыв генерации. В этот момент надо несколько уменьшить сопротивление подстроечного резистора до восстановления генерации. Интенсивность генерации регулируют переменным резистором R1. Все это делают с особой осторожностью, исключая касание руками токонесущих частей, особенно озонирующего элемента.
Сборка озонатора заканчивается установкой вентилятора, экранирующего металлического (или из фольгированного текстолита) кожуха и декоративных решеток.
Описанный электроприбор относится к озонаторам низких концентраций озона, поэтому для освежения воздуха в жилом помещении необходимо включение его на 15...20 мин. В режиме непрерывного вентилирования уровень озонообразования может быть снижен резистором R2. Для обработки же небольшого овощехранилища необходима длительная работа прибора (несколько часов) на максимальном уровне озонообразования.
Н.ТАЛАНОВ, В. ФОМИН
г. Нижний Новгород
РАДИО N8,1993 г.
#bn { DISPLAY: block } #bt { DISPLAY: block }
www.radio-schemy.ru
Интернет : Озонатор воздуха
- Бестрансформаторный РА на ГУ-29Все блокировочные конденсаторы С1...С4, С12...С14 типа КСО на напряжение не ниже 500 В или аналогичные номиналом 0,01...0,1 мкФ. Блок питания и лампа усилителя имеют гальванический контакт с сетью, поэтому в процессе наладки следует соблюдать осторожность.
20.06.2012 | Озонатор воздуха
Данное устройство будет полезным для очистки воздуха в квартире или уничтожения бактерий при инфекционных болезнях. Небольшая концентрация озона позволяет также улучшить длительное хранение продуктов, например в подвале.
В основе работы прибора используется свойство воздуха при пропускании через него электрических искр образовывать новое вещество ОЗОН. При обычных условиях это газ, имеющий характерный запах (молекула озона состоит из трех атомов кислорода и в природных условиях находится в верхних слоях атмосферы и образуется в результате атмосферных разрядов).
Как сильный окислитель, озон убивает бактерии и потому может применяться, например, для обеззараживания воды и дезинфекции воздуха. Но следует знать, что озон ядовит и предельно допустимым является его содержание в воздухе 0,00001%. При этой концентрации хорошо ощущается его запах.
В схеме устройства на излучателе А1 образуется электрическая дуга, через которую проходит поток воздуха. Для образования равномерно распределенной дуги на излучателе необходимо получить высоковольтное напряжение (15...80 кВ) достаточной мощности. Это осуществляется с помощью схемы преобразователя и трансформатора Т1. В первичной обмотке Т1 тиристор VS1 формирует импульсы за счет разряда конденсаторов С1...СЗ через обмотку. Управляет работой тиристора автогенератор на транзисторе VT1. Резистор R2 подобран так, что, когда напряжение на конденсаторах С1...СЗ достигнет 300 В (за счет заряда от сети), открывается тиристор VS1.
Устройство не критично к деталям, и резисторы могут иметь номиналы, близкие к указанным на схеме. Конденсаторы С1...СЗ типа МБМ, К42У-2, на рабочее напряжение не менее 500 В, С4 К73-9 на 100 В. Диоды VD1...VD4 можно заменить сборкой КЦ405Ж, В.
Высоковольтный трансформатор Т1 выполнен на пластинах из трансформаторного железа, набранных в пакет. Такая конструкция позволяет исключить намагничивание сердечника. Намотка выполняется виток к витку: сначала вторичная обмотка 2 2000 витков проводом ПЭЛ диаметром 0,08...0,12 мм (в четыре слоя), затем первичная 1 20 витков. Межслойную изоляцию лучше выполнять из нескольких слоев тонкой (0,1 мм) фторопластовой ленты, но подойдет также и конденсаторная бумага (ее можно достать из высоковольтных неполярных конденсаторов).
После намотки обмоток трансформатор необходимо залить эпоксидным клеем. В клей перед заливкой желательно добавить несколько капель конденсаторного масла и хорошо перемешать.
Для удобства заливки можно изготовить картонный каркас по габаритам трансформатора, где и выполняется герметизация.
Изготовленный таким образом трансформатор обеспечивает во вторичной обмотке амплитуду напряжения более 90000 В, но включать его без защитного разрядника F1 не рекомендуется, так как при этом возможен пробой внутри катушки. Защитный разрядник выполняется из двух оголенных проводов, расположенных на расстоянии 20...24 мм (для воздуха пробойное напряжение составляет примерно 3 кВ на 1 мм зазора).
Конструкция излучателя А1 приведена на рисунке. Элементы конструкции крепятся на боковых пластинах из оргстекла толщиной 5...10 мм (на рисунке не показаны). В зазоре между токопроводящими пластинами и стеклом (1 мм) образуется равномерно распределенная дуга. Ее хорошо видно при затемнении синяя полоса и характерный запах.
Для большей эффективности работы прибора можно использовать вентилятор OSTBERG, например типа ВН-2 он ускорит циркуляцию воздуха в рабочей зоне излучателя.
Описанное устройство создает низкую концентрацию озона, и для освежения воздуха в жилом помещении необходима его работа в течение 10...20 минут.
Рекомендуем ознакомиться- F.A.Q. IP телефонияIP телефония Что такое VoIP? Говоря простым языком, VoIP - это технология, позволяющая вести голосовые переговоры через Интернет. Поддерживается всё: от переадресации вызовов до голосовой почты и факса, поэтому надо внимательно изучить тарифы оператора.
- Словарь основных терминов и определенийПринцип действия устройств шумоочистки основан на использовании адаптивных цифровых фильтров или аналоговых эквалайзеров. Под гаммой шифра понимается псевдослучайная двоичная последовательность, вырабатываемая по заданному алгоритму.
- Как выбрать DVD поигрыватель. Рекомендации.Казалось бы, удобно, но век видеокассет на исходе, практически все существующие фильмы переписаны на DVD-формат. DVD-ресивер практически домашний кинотеатр только без акустики, поскольку содержит встроенный AV-ресивер.
- NCDXF/IARU - международный проект маяковКак оказалось, эта работа помогла в выработке стратегии работы экспедиции предварительные прогнозы компьютера были небезупречны. Например недалеко от Сан-Франциско (при таком низком уровне солнечной активности) маяк CS3B прекрасно выполняет свою функцию.
- Samsung обновила серию внешних накопителей моделями G2 и G3В продажу Samsung G2 и G3 поступят уже в конце этой недели, а стоимость 640 Гб G2 и 2 Тб G3 будет находиться в районе $200. Корпуса винчестеров выполнены из пластика с замысловатым узором, который позволяет скрыть мелкие царапины и отпечатки.
- Пополнение в семействе топовых игровых ПК Acer - Aspire Predator AG7750-U2222Посвященный этому событию пресс-релиз отмечает, что новая модель разработана для заядлых игроков, которые «не берут пленных». Предусмотрено четыре посадочных места для НЖМД с возможностью упрощенной замены без необходимости вскрывать системный блок.
oldradioclub.ru
Озонатор. - Конструкции для дома - Конструкции для дома и дачи
Озонаторы широко применяют для освежения и обеззараживания воздуха в непроветриваемых помещениях, например, чуланах, подвалах, туалетах и курительных комнатах. При этом устраняются запахи иулучшаетсяестественная циркуляция воздуха. В домашних условиях такими приборами можно периодически обрабатывать небольшие запасы свежих овощей и фруктов для их лучшей сохранности.

Несложный домашний озонатор можно сделать по схеме, приведенной на рис. 1. В устройство входят: преобразователь сетевого напряжения, основными элементами которого служат неоновая лампа HL и симистор VS1, индукционная катушка L1, элемент А1, создающий озон, и вентилятор с электродвигателем М1. За основу преобразователя напряжения взят симисторный регулятор мощности, описанный нами в «Радио», 1991, № 7, с.63. При включении озонатора в сеть, через обмотку! индукционной катушки, резисторы R1 и R2, R3, R4, заряжаются конденсаторы С1 и С2. При напряжении на конденсаторе С1 60...70 В неоновая лампа HL зажигается и включает симистор VS1. В этот момент конденсатор С2 быстро разряжается через симистор и обмотку катушки до сетевого напряжения, что приводит к выключению симистора. Сформированный таким образом короткий импульс тока создает на вторичной обмотке индукционной катушки высокое напряжение, создающее в элементе А1 коронный разряд. При следующем полупериоде сетевого напряжения конденсатор С1 вновь заряжается, но в другой полярности. А так как конденсатор С2 уже заряжен в предыдущий полупериод и полярность его заряда в данный момент совпадает с полярностью сети, поэтому в момент очередного включения симистора на первичную обмотку индукционной катушки поступает суммарное напряжение сети и конденсатора С2. Конденсатор С2 при этом перезаряжается, а симистор выключается. В следующий полупериод сетевого напряжения цикл формирования импульса повторяется.

Использование в преобразователе симистора позволило повысить эффективность работы индукционной катушки и почти полностью исключить ее подмагничивание. Можно, конечно, использовать и тринистор. В этом случае преобразователь озонатора следует собирать по схеме на рис. 2.

Изготовление необходимой катушки индуктивности—дело весьма трудоемкое. Поэтому ее функцию в описываемом озонаторе выполняет автомобильная катушка зажигания. Она может быть любого типа, в том числе бывшая в употреблении, с разрушенными контактами, поврежденным корпусом. Катушку зажигания зажимают в тиски и в ее корпусе по бортику делают ножовкой неглубокий пропил. Затем осторожно снимают пластмассовую горловину и вмесе с ней из масла извлекают саму катушку. Провода обмоток аккуратно кусачками отделяют от горловины, тампоном удаляют излишки масла с обмоток и просушивают.
Внешний вид и деталировка элемента, вырабатывающего озон, показаны на рис. 3. Он разработан рекомендациям Дзержинского НИИ химического машиностроения. Элемент представляет собой два электрода 8 и 10, отделенных один от другого чистой пластинкой 9 оконного стекла толщиной 3мм размерами 80x80 мм. Сверху и снизу на них накладывают четыре прокладки 2, 3, 6, 7 размерами 100x20 мм, толщиной 2 мм и две изолирующие пластины 1 и 4 из стеклотекстолита (или гетинакса) толщиной 4...8 мм, которые затем стягивают четырьмя винтами 5 М4х12 мм. В результате в элементе между стеклом и электродами образуются две сквозные щели шириной 60 и высотой 2 мм, где и происходит коронный разряд. Для электродов размерами 70x70мм с контактными выводами используют л истовой алюминий (или его сплавы) толщиной 1мм. Конструкция.одного из возможных вариантов домашнего озонатора показана на рис.4. Монтажная плата преобразователя напряжения и озонирующий элемент укреплёны на изолирующем основании с помощью металлических уголков, а индукционная катушка—алюминиевым хомутом через полоску стеклоткани. Симистор (или тринистор) желательно установить на дюралюминиевом уголке. Провод, идущий от ленточного вывода индукционной катушки к озонирующему элементу, дрлжёй быть по возможности коротким и в фторопластовой трубке. Можно использовать отрезок коаксиального кабеля, сняв с него экранирующую оплетку. Ось резистора R1 (СП-1) должна выходить из корпуса наружу и снабжена изолирующей ручкой. Конденсаторы С1 — К73-11 на номинальное напряжение 160 В, С2 и СЗ — МБМ на номинальное напряжение 400 В.
Для циркуляции озона в помещении в устройство встроен вентилятор типа ВН-2, применяемый во многих промышленных электронных приборах. Но разумеется, можно использовать обычный настольный вентилятор и им продувать прибор через декоративные решетки.

Налаживание прибора сводится к установке диапазона регулирования интенсивности озонообразования. Для этого движок переменногорезистора R1 устанавливают в крайнее верхнее (по схеме) положение, а подстроечного резистора R2—в крайнее нижнее. После включения в сеть неоновая лампа должна загореться. Плавным увеличением сопротивления резистора R2 добиваются появления в озонирующем элементе характерного трескообразного шума и слабого фиолетового свечения барьерного разряда. При дальнейшем увеличении сопротивления резистора интенсивность этих явлений нарастает, а затем происходит срыв генерации. В этот момент надо несколько уменьшить сопротивление подстроечного резистора до восстановления генерации. Интенсивность генерации регулируют переменным резистором R1. Все это делают с особой осторожностью, исключая касание руками токонесущих частей, особенно озонирующего элемента.
Сборка озонатора заканчивается установкой вентилятора, экранирующего металлического (или из фольгированного текстолита) кожуха и декоративных решеток. Описанный электроприбор относится к озонаторам низких концентраций озона, поэтому для освежения воздуха в жилом помещении необходимо включение его на 15...20 мин. В режиме непрерывного вентилирования уровень озонообразования может быть снижен резистором R2. Для обработки же небольшого овощехранилища необходима длительная работа прибора (несколько часов) намаксимальном уровне озонообразования.
Н.ТАЛАНОВ, В.ФОМИН, г. Нижний Новгород
РАДИО № 8, 1993г.
cxema.my1.ru
Генератор озона за 15 минут - Техника - Каталог статей - Домашняя лаборатория
С. Роднин
Предисловие
Озон - газ, получающийся после того, как к двум молекулам кислорода присоединяется третья, которая получается после разложения других молекул кислорода, путем воздействия на них энергетическим потенциалом в виде ультрафиолетового ионизирующего излучения, высокого напряжения или химическими методами.Озон имеет свойства сильного окислителя, при взаимодействии с компонентами воздушной или водной среды разлагается, разрушая при этом их химические и органические связи. Озон также вступает в реакцию со всеми металлами, за исключением платины, золота, иридия.
Озон в отличие от атомарного кислорода является относительно устойчивым соединением, например при температуре +20 °С, он устойчиво сохраняется на воздухе до 3 дней, в воде же при такой температуре он распадается за 20 минут (это верно при условии чистого воздуха и воды, без наличия примесей). При концентрациях озона выше 10%, озон может разлагаться со взрывом, вероятностьболее высока с повышением концентрации и температуры озона, а так же наличием других веществ в окружающем пространстве, катализаторов.Озон был открыт в 1785 году голландским физиком Ван Марум, а в 1840 немецкий ученый Шейнбейн, при попытках разложения воды электрической дугой на кислород и водород, обратил внимание на появление нового газа, неизвестного науке, тогда-то он и присвоил этому газу имя озон, производное от греческого "озиен", что значит пахнуть.Впервые установку по производству озона соорудил Вернер фон Сименс, который в 1857 г. с помощью созданной "совершенной трубки магнитной индукции" построил первую техническую озоновую установку, а 22 сентября 1896 г. изобретатель Никола Тесла запатентовал первый генератор озона.Исторически, применение озона началось с установок по подготовке питьевой воды, когда в 1898 году в городе Сан Мор (Франция) прошли испытания первой опытно-промышленной установки.В России, еще в 1911 г. была пущена в эксплуатацию станция озонирования питьевой воды в Санкт-Петербурге (в настоящее время не действует). Сейчас в Москве, Нижнем Новгороде и в некоторых других городах производится водоподготовка с помощью озонирования.Современные мощные озонаторные установки служат, для обработки (дезинфекции) овоще- и зернохранилищ, рефрижераторных, холодильных установок и т.д.Использования озона в медицинских целях берет свое начало в 1885 г., когда Чарли Кенворф впервые опубликовал свой доклад в Медицинской Ассоциации Флориды, США.. Краткие сведения о применении озона в медицине обнаружены и до этой даты.В медицинских целях озон применяется со времени открытия, но из за трудностей получения озона, в связи с его химической агрессивностью, отсутствием озоностойких материалов (немаловажное значение имело место открытие антибиотиков) использование озона в лечебных целях было приостановлено, до появления новых компактных аппаратов получения озона.Обширные и систематические исследования в области озонотерапии начались в середине 70-х гг. Исследования, в идеальных лабораторных условиях, показали, что при взаимодействии с клетками организма озон окисляет жиры и образует пероксиды — вещества, губительные для всех известных вирусов, бактерий и грибков. По действию озон можно сравнить с антибиотиками, с той лишь разницей, что он не "сажает" печень и почки, не имеет побочных явлений. Однако детальное изучение воздействия озона показало, что вместе с больными, озон поражает и здоровые клетки кожи, легких. В результате в живых клетках начинаются непредвиденные и непрогнозируемые мутации. Современная химическая промышленность в последнее время получила большой спектр новых веществ. Атомы этих веществ при распаде, после взаимодействия с озоном создают новые вещества с вероятностью канцерогенности и другими неизвестными свойствами. Это все привелок тому, что озонотерапия так и не прижилась в Европе, а в США. и Канаде официальное медицинское применение озона не легализовано, за исключением альтернативной медицины.В России и в ряде стран бывшего СНГ озонотерапия применяется при лечении широчайшего спектра заболеваний, и используется для различных косметологических процедур. Следует отметить, что по большей части в медицинских и косметологических целях озон получают при пропускании чистого кислорода (не воздуха) , через озонатор. Из за своей химической активности озон имеет очень низкую предельно-допустимую концентрацию (ПДК) в воздухе (соизмеримую с ПДК боевых отравляющих веществ) 0,1 мг/м3, что в 10 раз больше обонятельного порога для человека. В малых концентрациях на уровне 0,01-0,02 мг/м3 озон придает воздуху характерный запах свежести и чистоты. Например, после грозы воздух насыщается едва уловимым запахом озона, который ассоциируется с чистым воздухом.В России, в журнале «Природа» в ряде статей, опубликованных в 1976 г., описан эксперимент, который проводился в течение 5-и месяцев с двумя группами людей - контрольной и тестируемой.Воздух в помещении тестируемой группы наполнялся озоном с концентрацией 15 частиц озона на 1000000000 частиц воздуха. Все испытуемые отмечали хорошее самочувствие, исчезновение раздражительности. Медики отметили повышение содержания кислорода в крови, укрепление иммунной системы, нормализацию давления, исчезновение многих симптомов стресса.
Построение
В настоящее время для бытовых целей предлагается широкий выбор озонаторов различных производителей, как российских так и зарубежных, однако, цены на подобные аппараты не каждому по карману. Выход один строить самостоятельно.В литературе [3,4] , схемы озонаторов используют электрическую дугу для получения озона, что не совсем благоприятно, по моему мнению, так как возможно образование попутных веществ, таких как оксид азота, получаемого из азота входящего в состав воздуха продуваемого через озонатор. Последующий поиск в интернете привел к ссылке на патент RU2200701 "Генератор озона" [1], опубликованный на сайте NPTO.com.Из описания патента следует, что для изготовления данного озонатора требуется всего три детали, высоковольтный трансформатор, вентилятор и собственно сам генератор озона, смотрите блок схему на рис. 1.

Рис. 1. Электрическая схема генератора озона.
Если мы рассмотрим микроволновую печь, то окажется, что высоковольтный трансформатор и вентилятор (охлаждения магнетрона микроволновки), у нас есть, остается сделать генерирующую часть озонатора (рис. 2).

Рис. 2. Генерирующая часть озонатора: 1 - вентилятор, 2 - диэлектрическая труба, 3 - источник высокого напряжения, 4 - наружный лектрод, 5 - внутренняя сетка генератора озона, 6 - направление потока воздуха от вентилятора.
Для этого возьмем пластмассовую бутылку из-под газированной воды, емкостью 1.5-2.О литра. Обрежем у бутылки донышко и горловину, чтобы получилась труба. Возьмем металлическую сетку и вырежем из нее 2 ленты, шириной около 10-20 см, длина лент и ширина будет зависеть от выбранной вами трубы. Так как от размера ячеи и диаметра проволоки сетки зависит объем выхода газа озона, на рис. 3 показан примерный вид этой зависимости, указан диаметр проволоки «d» и размер ячеи «z» применяемой сетки. График указывает примерный выход объема газа озона в граммах в час, при использовании сетки (внутри генератора озона, при условии, что внешний электрод генератора озона сплошной металлический электрод) с указанными размерами на горизонтальной шкале. Теперь возьмем одну из приготовленных сеток и уложим ее внутрь трубы, стараясь что бы сетка как можно плотнее прилегала к стенкам трубы, вторую сетку укладываем на поверхности трубы так же поплотнее к стенке трубы, не забываем сделать от краев отступы, чтобы исключить перекрытие диэлектрического барьера между электродами (см. фото 1).Если подходящей сетки поблизости нет, можно вырезать сетку из дверки неисправной микроволновой печи (толщина металла там около 0.8 мм, потребуется электроинструмент в виде углошлифовальной машинки - турбинки), для установки внутри трубы генератора озона, а в качестве наружного электрода который укладывается поверх трубы генератора озона подойдет любая электропроводная фольга (например алюминиевая кулинарная), металлический лист и даже сетка.

Фото 1. Общий вид озонатора. Плата сетевого фильтра с предохранителем, высоковольтный трансформатор и вентилятор в сборе с генератором озона. В качестве второго электрода здесь применена сетка, такая же как и внутри генератора озона. Правда, эффективность озонатора в таком исполнении невысока.
Вот и все, наш генератор озона готов, его уже можно подключить к высоковольтному выходу трансформатора от микроволновой печи и без вентилятора, так как реакция образования молекул озона из кислорода экзотермична, то при обра- зовании озона происходит поглощение тепла и поэтому сам генератор озона (имеется ввиду труба озонатора) всегда холодная (это верно только при соблюдении описанных здесь условий построения озонатора).После включения трансформатора в сеть мы услышим характерное жужжание барьерного разряда указывающего на работу озонатора по выработке озона. Если теперь в полной темноте (после того как глаза привыкнут к темноте), посмотреть внутрь трубы озонатора, мы увидим голубоватые пятна плазмы в тех местах, где сетка наиболее плотно прилегает к трубе. Если мы попробуем вдохнуть воздух рядом трубой генератора, то почувствуем запаха озона.Внимание! Концентрированный озон - яд. К первым признакам, вернее следствиюотравления озоном, относится сухой надрывный кашель. Вентилятор требуется для уменьшения местной концентрации газа и распределения его по помещению, а так же для крепления трубы генератора озона (имеется ввиду вентилятор от микроволновки). Я просто прикрутил с помощью шурупов пластиковую трубу генератора озона прямо к пластмассовой раме (рама взята от неисправной микроволновки вместе с вентилятором) на которой крепится вентилятор, сверху над вентилятором (см. фото 1).Количественный выход газа озона зависит от окружающей температуры, влажности давлении воздуха, чем выше эти условия, тем меньше выход газа. Так как реакции распада и возникновения озона равновесны, то выход газа в качестве продукта реакции нашего генератора не может быть выше 5-7%.У трансформаторов микроволновых печей, имеется еще третья обмотка, служащая для питания накала магнетрона - переменное напряжение 3.5 вольта. Ее можно использовать для визуализации работы устройства путем подключения светодиода, как показано на схеме рис. 1. Я подключил светодиод от китайской зажигалки со встроенным фонариком, дополнительных элементов в виде диода, токового - ограничительного резистора не понадобилось (фото 2).

Фото 2. Озонатор с таймером от микроволновки.
Эксплуатация
Трансформаторы микроволновых печей не предназначены для продолжительной работы - сильно греются обмотки, поэтому, в идеале, лучше использовать таймер от микроволновой печи для ограничения времени работы озонатора (фото 2). Или последовательно с первичной обмоткой подключить неполярный конденсатор типа МБМ на 2-10 мкф, 250-600 вольт - в этом случае уменьшается нагрев сердечника трансформатора из за уменьшения тока первичной обмотки (у меня в холостом режиме без конденсатора трансформатор потреблял ток 4 ампера). Следует обратить внимание на надежность крепления проводов от трансформатора к электродам трубы генератора, так как при плохом контакте между электродом и проводом возникает электрическая дуга, которая нагревает пластик трубы, следствием является пробой пластика и замыкание высоковольтных электродов озонатора друг на друга.Дуга, зажженная на вторичной обмотке, горит весьма эффектно и даже если поместить проводники тока в воду, она будет продолжать гореть и там. Из-за большого потребления тока горящей дугой, трансформатор начинает дымить от перегрева - так как данный режим работы соответствует практически короткому замыканию вторичной обмотки.Рассмотренная установка может служить для очистки помещений от грибковых и плесневых поражений, устранению посторонних запахов, дезинфекции подвалов и погребов, дезинфекции систем кондиционирования автомобилей и последствий курящих автовладельцев в салонах авто.Не следует забывать, что озонатор не очищает воздух, а лишь разрушает атомы ароматических соединений и клетки органических образований в окружающем пространстве . Частицы пыли, попав в трубу озонатора с помощью вентилятора, прилипают к стенкам и время от времени трубу необходимо прочищать особенно при частом использовании озонатора, особенно в запыленных помещениях.Наличие высокого напряжения порядка 2000 вольт, требует соблюдения правил техники безопасности, осторожности и внимательности при использовании озонатора. В целях пожарной безопасности использование предохранителя в первичной сети трансформатора обязательно.Запрещается использовать озонатор в присутствии людей и животных. После отключения генератора озона требуется какое-то время для самораспада молекул озона находящихся в воздухе (как правило, несколько минут, зависит от мощности генератора) и находится в это время в помещении не рекомендуется.
Послесловие
Прошло уже три года как построен этот девайс. Как оказалось, для самого генератора озона не требуется никакой трубы - достаточно положить диэлектрическую пленку сверху на сам корпус высоковольтного трансформатора от микроволновки. Я использовал прозрачную пленку предназначенную для печати на лазерных принтерах, материал предположительно политетрафталат, обладает стойкостью к нагреву и высокому напряжению, применяется так же как диэлектрик высоковольтных конденсаторов. Простой полиэтилен долго не выдерживал его пробивало высоким напряжением вторичной обмотки. Поверх пленки нужно положить кусочек сетки. Сердечник трансформатора является одним электродом генератора озона (вторичная обмотка трансформаторов от микроволновых печей всегда одним концом обмотки подключена к сердечнику трансформатора). Сетка, изолированная пленкой от сердечника, подключенная ко другому концу высоковольтной обмотки кусочком провода - второй электрод генератора. Чтобы сетка не сползала с сердечника трансформатора в процессе работы генератора, я ее прижал магнитом от неисправного магнетрона. Просто положил сверху сетки, а чтобы магнит не закрывал поток воздуха над сеткой - между сеткой и магнитом положил деревянные зубочистки, магнит прижал зубочистки к сетке, а сетка плотно прижалась к пленке и сердечнику трансформатора (фото 3).
Фото 3. Упрощенный генератор озона.
Кстати, производительность усовершенствованного генератора гораздо выше по сравнению со старым образцом - в темноте хорошо видно бело-голубоватое свечение всей площади сетки.Я использовал данный генератор при простудных заболеваниях для лечения насморка особенно когда начинали течь зеленые сопли, если их не лечить то это может привести к гаймориту, при лечении насморка никаких фарм-препаратов не использовал (прежде чем повторять внимательно ознакомьтесь с тем что написано выше - это рискованно). Также генератор озона помогал производить очистку воздуха в квартире после приготовления рыбы почти холодного копчения и нормального горячего копчения (кстати, в качестве коптильни я использовал неисправную микроволновую печь - понравилось, что у нее внутренняя поверхность была сделана из нержавейки). У моей коптильни отсутствует проходное отверстие для выхода дыма, тем не менее, задымление помещения не происходит, но это уже другая история.Данный девайс можно установить на действующую микроволновку, если использовать оную в качестве плавильной печи для плавки цветных металлов как показано в ролике на YouTube [5]. В действующую микроволновую печь устанавливать генератор озона не рекомендую - неизвестно, что за продукт получится на выходе при приготовлении еды, в интернете и так много говорят о неоднозначном действии микроволнового излучения на продукты питания.
Литература
1. Баранов А.Ф., Елесин А.П., Михайлова Т.К. Патент RU2200701: "Генератор озона" (2002). Сайт NPTO.com.2. Титов Е.Д. Патент RU2034777: "Способ получения озона и устройство для его осуществления" (1991). Сайт NPTO.com.3. Войцеховский Я. "Радиоэлектронные игрушки". Советское радио. 1978. Пер. с польск. - с. 587-588.4. Шелестов И.П. "Радиолюбителям полезные схемы". Солон. 1998. - с. 148-1495. http://www.youtube.com/watch?v=0mhJHcoAt88 (Плавка цветных металлов в микроволновой печи).
homelab.at.ua
ДОМАШНИЙ ОЗОНАТОР
ДОМАШНИЙ ОЗОНАТОР.
Озонаторы широко применяют для освежения и обеззараживания воздуха в непроветриваемых помещениях, например, чуланах, подвалах, туалетах и курительных комнатах. При этом устраняются запахи и улучшается естественная циркуляция воздуха. В домашних условиях такими приборами можно периодически обрабатывать небольшие запасы свежих овощей и фруктов для их лучшей сохранности.

Несложный домашний озонатор можно сделать по схеме, приведенной на рис. 1. В устройство входят: преобразователь сетевого напряжения, основными элементами которого служат неоновая лампа HL1 и симистор VS1, индукционная ка-тушкаL1, элемент А1, создающий озон, и вентилятор с электродвигателем М1. За основу преобразователя напряжения взят симисторный регулятор мощности, описанный нами в «Радио», 1991, № 7, с.63.
При включении озонатора в сеть, через обмотку I индукционной катушки, резисторы R1 и R2, R3.R4, заряжаются конденсаторы C1 и С2. При напряжении на конденсаторе С1 60...70 В неоновая лампа HL1 зажигается и включает симистор VS1. В этот момент конденсатор С2 быстро разряжается через симистор и обмотку катушки до сетевого напряжения, что приводит к выключению симистора. Сформированный таким образом короткий импульс тока создает на вторичной обмотке индукционной катушки высокое напряжение, создающее в элементе А1 коронный разряд.
При следующем полупериоде сетевого напряжения конденсатор С1 вновь заряжается, но в другой полярности. А так как конденсатор С2 уже заряжен в предыдущий полупериод и полярность его заряда в данный момент совпадает с полярностью сети, поэтому в момент очередного включения симистора на первичную обмотку индукционной катушки поступает суммарное напряжение сети и конденсатора С2. Конденсатор С2 при этом перезаряжается, а симистор выключается. В следующий полупериод сетевого напряжения цикл формирования импульса повторяется.
Использование в преобразователе симистора позволило повысить эффективность работы индукционной катушки и почти полностью исключить ее подмагничивание. Можно, конечно, использовать и тринистор. В этом случае преобразователь озонатора следует собирать по схеме на рис. 2.

Изготовление необходимой катушки индуктивности—дело весьма трудоемкое. Поэтому ее функцию в описываемом озонаторе выполняет автомобильная катушка зажигания. Она может быть любого типа, в том числе бывшая в употреблении, с разрушенными контактами, поврежденным корпусом. Катушку зажигания зажимают в тиски и в ее корпусе по бортику делают ножовкой неглубокий пропил. Затем осторожно снимают пластмассовую горловину и вместе с ней из масла извлекают саму катушку. Провода обмоток аккуратно кусачками отделяют от горловины, тампоном удаляют излишки масла с обмоток и просушивают.

Внешний вид и деталировка элемента, вырабатывающего озон, показаны на рис. 3. Он разработан по рекомендациям Дзержинского НИИ химического машиностроения. Элемент представляет собой два электрода 8 и 10, отделенных один от другого чистой пластинкой 9 оконного стекла толщиной 3 мм размерами 80х80 мм. Сверху и снизу на них накладывают четыре прокладки 2, 3, 6, 7 размерами 100х20 мм, толщиной 2 мм и две изолирующие пластины 1 и 4 из стеклотекстолита (или гетинакса) толщиной 4...8 мм, которые затем стягивают четырьмя винтами 5 М4х12 мм. В результате в элементе между стеклом и электродами образуются две сквозные щели шириной 60 и высотой 2 мм, где и происходит коронный разряд.
Для электродов размерами 70х70 мм с контактными выводами используют листовой алюминий (или его сплавы) толщиной 1 мм.

Конструкция одного из возможных вариантов домашнего озонатора показана нарис.4. Монтажная плата преобразователя напряжения и озонирующий элемент укреплены на изолирующем основании с помощью металлических уголков, а индукционная катушка—алюминиевым хомутом через полоску стеклоткани. Симистор (или тринистор) желательно установить на дюралюминиевом уголке. Провод, идущий от ленточного вывода индукционной катушки к озонирующему элементу, должен быть по возможности коротким и в фторопластовой трубке. Можно использовать отрезок коаксиального кабеля, сняв с него экранирующую оплетку. Ось резистора РЦ (СП-1) должна выходить из корпуса наружу и снабжена изолирующей ручкой. Конденсаторы С1 —К73-11 на номинальное напряжение 160 В, С2 и СЗ — МБМ на номинальное напряжение 400 В.
Для циркуляции озона в помещении в устройство встроен вентилятор типа ВН-2, применяемый во многих промышленных электронных приборах. Но, разумеется, можно использовать обычный настольный вентилятор и им продувать прибор через декоративные решетки.
Налаживание прибора сводится к установке диапазона регулирования интенсивности озонообразования. Для этого движок переменного резистора R1 устанавливают в крайнее верхнее (по схеме) положение, а подстроечного резистора R2—в крайнее нижнее. После включения в сеть неоновая лампа должна загореться. Плавным увеличением сопротивления резистора R2 добиваются появления в озонирующем элементе характерного трескообразного шума и слабого фиолетового свечения барьерного разряда. При дальнейшем увеличении сопротивления резистора интенсивность этих явлений нарастает, а затем происходит срыв генерации. В этот момент надо несколько уменьшить сопротивление подстроечного резистора до восстановления генерации. Интенсивность генерации регулируют переменным резистором R1. Все это делают с особой осторожностью, исключая касание руками токонесущих частей, особенно озонирующего элемента.
Сборка озонатора заканчивается установкой вентилятора, экранирующего металлического (или из фольгированного текстолита) кожуха и декоративных решеток.
Описанный электроприбор относится к озонаторам низких концентраций озона, поэтому для освежения воздуха в жилом помещении необходимо включение его на 15...20 мин. В режиме непрерывного вентилирования уровень озонообразования может быть снижен резистором R2. Для обработки же небольшого овощехранилища необходима длительная работа прибора (несколько часов) на максимальном уровне озонообразования.
Н.ТАЛАНОВ, В. ФОМИН
г. Нижний Новгород
РАДИО N8,1993 г.
martok.narod.ru
Как сделать бытовой озонатор своими руками
Климатическая техника уже давно и прочно вошла в нашу повседневную жизнь. Она делает воздух в нашей квартире чище, теплее или прохладнее, создает нормальный уровень влажности – в общем, делает нашу жизнь более комфортной. Исключением не стал и такой прибор, как озонатор.
Но есть во всей климатической технике один серьезный недостаток – ее высокая стоимость. Не каждая семья может себе позволить обзавестись устройством, очищающим воздух от различных неприятных запахов, спор грибков и некоторых форм бактерий. Именно поэтому многие умельцы, коих у нас в стране предостаточно, делают такую технику своими руками.
Принцип работы прибора для производства озона
Для того чтобы сделать озонатор воздуха своими руками, прежде всего нужно знать его принцип работы.
- Напряжение подается на повышающий трансформатор, который изменяет его, повышая в несколько десятков раз, и на вентилятор.
- После чего, увеличенное напряжение поступает на излучатель, между электродами которого происходит разряд, модифицирующий молекулы кислорода. Благодаря этому в молекуле кислорода появляется третий атом, который и является главным «очистителем» воздуха.
- Вентилятор создает поток воздуха для прогона его через пластины излучателя.
Именно благодаря вентилятору воздух будет попадать в прибор и выводиться наружу озон, поэтому подбору его мощности стоит уделить особое внимание. Он не должен иметь большую производительность, так как в задачу вентилятора не входит создание воздухообмена в помещении, а также создавать шума и дискомфорта.
Самодельный озонатор воздуха состоит из:
- Преобразователя сетевого напряжения, основными элементами которого служат симистор и неоновая лампа.
- Катушки индуктивности.
- Излучателя.
- Вентилятора.
Устройство преобразователя напряжения
Преобразователь напряжения довольно прост в исполнении, но для этого требуются знания в радиоконструировании и электротехнике. Кроме того, нужно самостоятельно создать печатную плату, а после сборки правильно настроить работу устройства, поэтому мы рекомендуем купить обычный диммер.
Но для всех, кто все-таки желает собрать это устройство самостоятельно, схема симисторного регулятора мощности опубликована в журнале «Радио» №7 за 1991 г на странице 63.
к оглавлению ↑Компоненты для самостоятельной сборки
После того как был собран преобразователь напряжения, осталось приобрести некоторые детали и самодельный озонатор готов к использованию. Вам понадобиться:
к оглавлению ↑Сборка излучателя
Излучатель представляет собой две алюминиевые пластины, толщиной около 1 мм, скрепленные между собой на расстоянии 2 мм. В качестве изолятора между ними прекрасно подойдет обычное оконное стекло, толщиной 2 мм. Скрепляются эти пластины между собой через изоляторы — они не должны соприкасаться.
Сборка устройства происходит так:
- Первоначально вырезаются две заготовки из стеклотекстолита, толщиной 3 мм и размерами 100мм. Х 100 мм. Они будут служить внешними изоляторами излучателя.
- На одну из заготовок закрепляется пластина из алюминия, размерами 80 мм на 80 мм.
- На пластину накладывается стекло, размерами 80 мм на 80 мм.
- С двух противоположных сторон закрепляются пластины, из стеклотекстолита, но толщиной 4 мм и размерами 100 мм на 10 мм. Они будут служить обрамлением с двух сторон пластин излучателя и стекла.
- На эти полоски текстолита накладывается вторая пластина алюминиевого излучателя.
- Последним слоем «пирога» будет вторая заготовка из текстолита, толщиной 3 мм.
Стекло получается одной стороной лежит на текстолитовом изоляторе, а между второй стороной стекла и алюминиевым контактом расстояние в 1 мм. Именно здесь и будет происходить коронный разряд для производства озона. Теперь осталось все смонтировать в корпус, подключить детали и озонатор своими руками готов к работе.
Предлагаем посмотреть видео, где показано как будет выглядеть готовый самодельный озонатор.
к оглавлению ↑Монтаж устройства
Озонатор собирается в такой последовательности:
- Сеть
- Преобразователь напряжения, на выходе которой стоит конденсатор.
- Поле напряжение подается на низковольтную обмотку катушки.
- При помощи проводов высокого напряжения с силиконовыми изоляторами, ток поступает на второй конденсатор, а с него на излучатель.
Следует не забыть в эту схему включить вентилятор, который будет подавать воздух на излучатель, установленный вертикально.
Важно!Если вы не являетесь как минимум электриком с 4 группой допуска, то мы настоятельно не рекомендуем проводить сборку озонатора своими силами, ввиду опасного для жизни напряжения присутствующего в приборе. Жизнь, является большим достоянием человечества, нежели любой прибор, который можно приобрести в ближайшем магазине бытовой техники.
data-matched-content-rows-num="3,2" data-matched-content-columns-num="1,3" data-matched-content-ui-type="image_stacked,image_stacked"ventilationpro.ru
Схема озонатора воздуха - Медицинская техника - Автоматика в быту - Cхемы
Данное устройство будет полезным для очистки воздуха в помещении или уничтожения бактерий при инфекционных болезнях. Небольшая концентрация озона позволяет также улучшить длительное хранение продуктов, например в подвале.
В основе работы прибора используется свойство воздуха при пропускании через него электрических искр образовывать новое вещество — ОЗОН. При обычных условиях это газ, имеющий характерный запах (молекула озона состоит из трех атомов кислорода и в природных условиях находится в верхних слоях атмосферы и образуется в результате атмосферных разрядов).

Рис.1. Принципиальная схема озонатора воздуха.
Как сильный окислитель, озон убивает бактерии и потому может применяться, например, для обеззараживания воды и дезинфекции воздуха. Но следует знать, что озон ядовит и предельно допустимым является его содержание в воздухе 0,00001%. При этой концентрации хорошо ощущается его запах.
В схеме устройства (рис. 6.21) на излучателе А1 образуется электрическая дуга, через которую проходит поток воздуха. Для образования равномерно распределенной дуги на излучателе необходимо получить высоковольтное напряжение (15...80 кВ) достаточной мощности. Это осуществляется с помощью схемы преобразователя и трансформатора Т1. В первичной обмотке Т1 тиристор VS1 формирует импульсы за счет разряда конденсаторов С1...СЗ через обмотку. Управляет работой тиристора автогенератор на транзисторе VT1. Резистор R2 подобран так, что, когда напряжение на конденсаторах С1...СЗ достигнет 300 В (за счет заряда от сети), открывается тиристор VS1.
Устройство не критично к деталям, и резисторы могут иметь номиналы, близкие к указанным на схеме. Конденсаторы С1...СЗ типа МБМ, К42У-2, на рабочее напряжение не менее 500 В, С4 — К73-9 на 100 В. Диоды VD1...VD4 можно заменить сборкой КЦ405Ж, В.

Рис. 2. Каркас для намотки высоковольтного трансформатора Т1
Высоковольтный трансформатор Т1 выполнен на пластинах из трансформаторного железа, набранных в пакет (рис. 6.22). Такая конструкция позволяет исключить намагничивание сердечника. Намотка выполняется виток к витку: сначала вторичная обмотка — 2 — 2000 витков проводом ПЭЛ диаметром 0,08...0,12 мм (в четыре слоя), затем первичная — 1 — 20 витков. Межслойную изоляцию лучше выполнять из нескольких слоев тонкой (0,1 мм) фторопластовой ленты, но подойдет также и конденсаторная бумага (ее можно достать из высоковольтных неполярных конденсаторов).
После намотки обмоток трансформатор необходимо залить эпоксидным клеем. В клей перед заливкой желательно добавить несколько капель конденсаторного масла и хорошо перемешать.
Для удобства заливки можно изготовить картонный каркас по габаритам трансфоратора, где и выполняется герметизация.
Изготовленный таким образом трансформатор обеспечивает во вторичной обмотке амплитуду напряжения более 90000 В, но включать его без защитного разрядника F1 не рекомендуется, так как при этом возможен пробой внутри катушки. Защитный разрядник выполняется из двух оголенных проводов, расположенных на расстоянии 20...24 мм (для воздуха пробойное напряжение составляет примерно 3 кВ на 1 мм зазора).
Конструкция излучателя А1 приведена на рис. 6.23. Элементы конструкции крепятся на боковых пластинах из оргстекла толщиной 5...10 мм (на рисунке не показаны). В зазоре между токопроводящими пластинами и стеклом (1 мм) образуется равномерно распределенная дуга. Ее хорошо видно при затемнении — синяя полоса и характерный запах.
Для большей эффективности работы прибора можно использовать любой вентилятор, например типа ВН-2 — он ускорит циркуляцию воздуха в рабочей зоне излучателя.
Описанное устройство создает низкую концентрацию озона, и для освежения воздуха в жилом помещении необходима его работа в течение 10...20 минут.

Рис. 3. Конструкция излучателя А1
radiotex.3dn.ru


